GATE VALVE, METAL SEATED, PN25
Act. flange, SS stem, gunmetal seat, galv. 8.8 bolts, alu-bronze wedge nut, CTC, blue FBE
Contact
Pham Trung
Technical Manager
Metal seat gate valve for water, sewage and neutral liquids to max. 70°C
AVK series 37 gate valves are designed with built-in safety and quality in every detail. The tough and sturdy metal seat design is well suited for use in applications where conditions are harsh with high temperature and high content of debris or other abrasives. The copper alloy metal seals are machined to a supremely fine surface finish that makes sure to close water tight under all conditions.
| Variant 37/81-002 | |
|---|---|
| Connection: | Flanged |
| Material: | Ductile iron |
| DN: | DN50 - DN300 |
| PN: | PN 25 |
| Closing direction: | Clockwise to Close |
Features
-
Metal seat design able to withstand high temperature
-
Gunmetal bronze seat & face rings machined to a high finish for optimum contact and minimum leakage
-
Stem in stainless steel
-
Full circle brass thrust collar provides fixation of the stem and low free running torques
-
Stem seal: a replaceable polyamide bearing with two O-rings and an O-ring on the stem
-
Round bonnet gasket fixed in a recess groove in bonnet preventing it from being blown out by pressure surges
-
Counterbored and hot-melt sealed bonnet bolts encircled by the bonnet gasket ensures no risk of corrosion
-
Wedge with guides ensures uniform closure
-
Alu-bronze wedge nut
-
Full bore
- Internal and external 250μm blue epoxy coating
- CL300 can be customizable based on request
Downloads
Datasheet
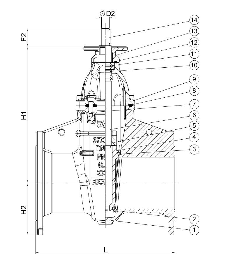
Reference nos. and dimensions:
Scroll for more info
| Reference no. | DN mm |
Flange drilling |
L mm |
D mm |
D2 mm |
F2 mm |
H1 mm |
H2 mm |
ISO flange |
Theoretical weight/kg |
|---|---|---|---|---|---|---|---|---|---|---|
| 37-050-81-070001 | 50 | PN25 | 216 | 165 | 23 | 47 | 225 | 83 | F10 | 17 |
| 37-080-81-070001 | 80 | PN25 | 283 | 200 | 23 | 47 | 270 | 100 | F10 | 24 |
| 37-100-81-070001 | 100 | PN25 | 305 | 235 | 23 | 47 | 298 | 118 | F10 | 37 |
| 37-150-81-070001 | 150 | PN25 | 403 | 300 | 23 | 47 | 395 | 150 | F10 | 68 |
| 37-200-81-070001 | 200 | PN25 | 419 | 360 | 23 | 46 | 498 | 180 | F10/14 | 107 |
| 37-250-81-070001 | 250 | PN25 | 457 | 425 | 30 | 46 | 577 | 213 | F10/14 | 150 |
| 37-300-81-070001 | 300 | PN25 | 502 | 485 | 30 | 46 | 656 | 243 | F10/14 | 240 |
Enquiry
Scroll for more info
Components
| 1. | Body | Ductile iron GJS-500-7 (GGG-50) |
| 2. | Seat ring | Bronze CC491K (LG2) |
| 3. | Face ring | Bronze CC491K (LG2) |
| 4. | Wedge | Ductile iron GJS-500-7 (GGG-50) |
| 5. | Wedge nut | Alu-bronze CC331G (AB1) |
| 6. | Stem | Stainless steel 1.4021 (AISI 420) |
| 7. | Bolt | Steel, hot dip galvanized |
| 8. | Bonnet gasket | EPDM rubber |
| 9. | Bonnet | Ductile iron GJS-500-7 (GGG-50) |
| 10. | O-ring | NBR rubber |
| 11. | Thrust collar | Brass DZR |
| 12. | O-ring | NBR rubber |
| 13. | Gland flange | Ductile iron GJS-450-10 |
| 14. | Key | Stainless steel A2-70 |
| 15. | O-ring | NBR rubber |
| 16. | Bushing | Polyamide |
| 17. | Bolt | Steel, hot dip galvanized |
Test/Approvals
- Hydraulic test according to EN 1074-1 and -2 / EN 12266
Standards
- EN 1074 part 1 & 2
- Face-to-face dimension according to EN 558, basic series 19
- Flange drilling to EN1092, PN25